The Apple Car Might Be Able To Eliminate Blind Spots
Aadhya Khatri - Nov 27, 2019
The design can be used for both autonomous vehicles and those with human drivers. The real question is does it mean we will soon have an Apple car?
- Best Gaming Phones 2025: Top Devices for Mobile Gaming
- Apple Kills Original HomePod, Focusing On HomePod Mini
- iPhone 12 Color Is Fading Away Quickly And No One Knows Why
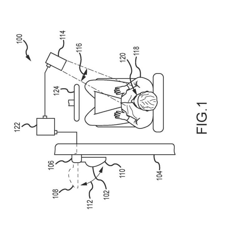
Apple is showing its ambition to expand to the automotive industry by filing a new patent for a car that can eliminate blind spots. What Apple’s system does is to project the blind spot’s surrounding environment to the windshield or windows.
The car will also come equipped with the facial recognition technology that works via a camera on the windshield that faces the driver.
This new patent shares the same underlying idea with Alaina Gassler’s. What the 14-year-old came up with is to mount cameras outside of the vehicle to record and then project these footages to the driver.

While sharing the same idea of displaying the blind spots, Apple’s patent was filed way back in 2016 while that of Gassler was made public recently.
Apple’s design can be used for both autonomous vehicles and those with human drivers. The real question here is will Apple join hand with an automaker to integrate this design to future cars or it will do the work itself and introduce an Apple car?
Rumor has it that Apple is taking the idea of building its own car seriously. Back in April, Reuters reported that the iPhone maker was discussing with some other companies to develop sensor technology for autonomous vehicles.
The plan of Apple to make autonomous vehicles is called Project Titan and the company has reportedly recruited former employees of Google and Tesla to work on the technology. Reuters reported that there were more than 1.200 employees are developing the project. Last year, the company logged approximately 130,000 km of testing in California.
In 2018, Ming-Chi Kuo, an analyst said that Apple Car would make it to the market in 2023 or 2025. The patent could shed some light on how Apple wants the car to be.
Featured Stories
ICT News - Feb 18, 2026
Google's Project Toscana: Elevating Pixel Face Unlock to Rival Apple's Face ID
Mobile - Feb 16, 2026
Xiaomi Launches Affordable Tracker to Compete with Apple's AirTag
ICT News - Feb 15, 2026
X Platform Poised to Introduce In-App Crypto and Stock Trading Soon
ICT News - Feb 13, 2026
Elon Musk Pivots: SpaceX Prioritizes Lunar Metropolis Over Martian Colony
ICT News - Feb 10, 2026
Discord's Teen Safety Sham: Why This Data Leak Magnet Isn't Worth Your Trust...
ICT News - Feb 09, 2026
PS6 Rumors: Game-Changing Specs Poised to Transform Console Play
ICT News - Feb 08, 2026
Is Elon Musk on the Path to Becoming the World's First Trillionaire?
ICT News - Feb 07, 2026
NVIDIA's Gaming GPU Drought: No New Releases in 2026 as AI Takes Priority
ICT News - Feb 06, 2026
Elon Musk Clarifies: No Starlink Phone in Development at SpaceX
ICT News - Feb 03, 2026
Elon Musk's SpaceX Acquires xAI in Landmark $1.25 Trillion Merger
Read more
Mobile- Feb 17, 2026
Anticipating the Samsung Galaxy S26 and S26+: Key Rumors and Specs
The Samsung Galaxy S26 series is on the horizon, sparking excitement among tech enthusiasts.
ICT News- Feb 18, 2026
Google's Project Toscana: Elevating Pixel Face Unlock to Rival Apple's Face ID
As the smartphone landscape evolves, Google's push toward superior face unlock technology underscores its ambition to close the gap with Apple in user security and convenience.
Mobile- Feb 16, 2026
Xiaomi Launches Affordable Tracker to Compete with Apple's AirTag
For users tired of ecosystem lock-in or high prices, the Xiaomi Tag represents a compelling, no-frills option that delivers core functionality at a fraction of the cost.
Comments
Sort by Newest | Popular