The Upcoming iPhone Will Have A Hole In The Screen
Indira Datta - Nov 14, 2018
Apple has recently got a patent for its foldable phone, and now the second one for its hole-in-display design.
- Best Gaming Phones 2025: Top Devices for Mobile Gaming
- Samsung Odyssey 2025 Gaming Monitors Launch in India with Revolutionary Features
- Samsung Galaxy Z Fold 7 Ultra: The Next Chapter of Premium Foldables
Apple's latest change has created a new trend in smartphone design with its notch on the screen, derived from the iPhone X launched last year. Android-based phones are also designed with a notch design on the screen, but it's been improving quite well and getting smarter. Smartphone companies such as Oppo and Vivo have also put this design into their latest products and are also very successful. But Apple wants to move on with the breakthroughs in their design.
At the Developer Conference last week, smartphone manufacturers have announced four new types of displays that are about to be introduced into future smartphones. One of them, the Infinity-O design from Samsung is a design that left a deep impression when the phone has a hole in the display where it contains the camera. This design is considered to be a trendsetter next year as news of leaks from manufacturing facilities in the past few weeks. More specifically, Apple may well be one of the makers of this unique and unique design.
LetsGoDigital said it had a sample of an iPhone with a hole for the camera on the screen. This is Apple's new patent, titled "Integrated Camera Window," which was submitted to the US Patent and Trademark Office in June. The hole on the screen will help reduce the edges of the iPhone, but it still holds important features such as FaceID and many other functions.

According to the image above, there will be a hole in the right corner of the screen where the camera is located. The screen with or without holes on the screen will still be coated with a bath of chemicals. Apple gave an example of this glass, which is dropped in a chemical bath that contains potassium nitrate (KNO3) at high temperatures for several hours.
The results show that this type of glass has a higher compressive strength compared to the previous. You can read more about the new Apple patent granted by the USPTO on November 8.

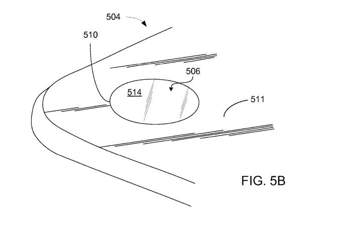
However, this is just a study that Apple is focusing on. Last month Apple also received a second patent for a foldable smartphone. This design focuses on the hinges that make the smartphone foldable and still touchable.

As described on this particular hinged, it is an electronic device with a flexible hinge that allows it to be paired between two parts of the phone and is covered by luxurious fabrics. On the other hand, Samsung is expected to launch a smartphone capable of folding before Apple because they confirmed it will be launched early next year. A recent report said it is expected to be made available to the public in February 2019 at the upcoming MWC.
Featured Stories
Mobile - Oct 23, 2025
How Casual Games Are Winning the Mobile Attention War
Mobile - Jul 03, 2025
OPPO Reno 14 Series Hits India: Launch Date, Cameras, and Specs
Mobile - Jun 12, 2025
Best Gaming Phones 2025: Top Devices for Mobile Gaming
Mobile - Jun 12, 2025
Vivo T4 Ultra Debuts with MediaTek Dimensity 9300+ Chipset
Mobile - Jun 08, 2025
Realme GT 7T Review: Power Meets Endurance in Controversial Style
Mobile - Jun 08, 2025
Motorola Edge 60 Set to Debut in India This June
Mobile - Jun 07, 2025
Realme C73 5G Launches in India: Budget 5G Phone Starts at ₹10,499
Gadgets - Jun 07, 2025
OnePlus 13s Makes Indian Debut: Compact Flagship Brings Premium Features at...
Mobile - Jun 04, 2025
Samsung Galaxy Z Fold 7 Ultra: The Next Chapter of Premium Foldables
Mobile - Jun 02, 2025
Comments
Sort by Newest | Popular