Microsoft’s New Patent Hints Its Upcoming Foldable Phone
Dhir Acharya - Dec 17, 2018
Microsoft has just been granted a patent that it filed in August 2017, detailing a technology the company may use for its foldable phone.
- The Ultimate Tech Betrayal: OpenAI's Nuclear Revenge Plot Against Sugar Daddy Microsoft
- Microsoft Notepad Gets Major Update: Bold Text, Hyperlinks, and Markdown Support
- Microsoft Surface: A Shift from Innovation to Stability?
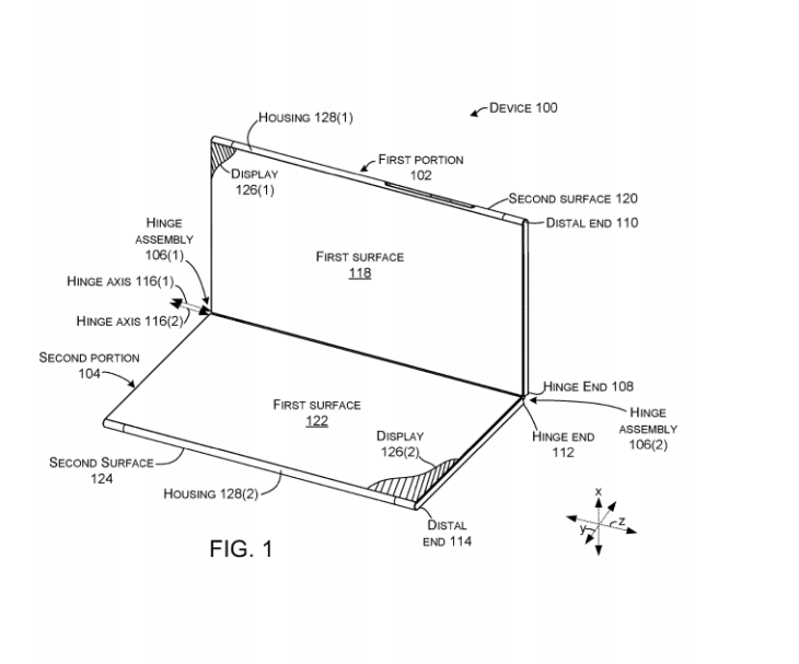
USPTO (US Patent and Trademark Office) has recently granted a patent to Microsoft for a design of a foldable device which looks like a tablet with dual screens. Microsoft filed the patent to UPSTO in August 2017, but it was just published on December 13, 2018.
MSPoweruser was the first to find out about the patent that the giant tech firm named ‘HINGED DEVICE.’ In particular, the patent details the application of the hinge mechanism to fold a dual-screen device in half. Plus, the company is designing a lock popping open when you touch the lock button.

According to Microsoft, the description is about hinged devices, hinged computing devices for example. A hinged device can consist of two parts, each has hinge ends that are rotatably secured relative to a hinge shaft.
This device can also feature a friction arm with a U shape which extends from the first end of the shaft to the other end. Microsoft can also include a pop-up mechanism along the shaft, lying between the two ends, the assembly is meant to generate a bias to rotate the two parts from each other.
For a long time, Microsoft has been researching and developing foldable, but it has never made any official announcements about this. And though we cannot usually predict an upcoming device based on patents, this technology patented by Microsoft can feature in Andromeda.

The alleged Andromeda device
A while ago, reports said that Microsoft has plans to update the mysterious Andromeda device. We started talking about the Andromeda in October. It is rumored to be Windows Phone’s successor, which is foldable and can be transformed into a tablet. Also, Andromeda may feature a new version of the Windows 10 operating system, which the company is currently working on.
Recently, Microsoft has obtained occupied the fifth position among the most popular PC brands in the United States thanks to significant sales from its Surface devices.
Featured Stories
ICT News - Feb 18, 2026
Google's Project Toscana: Elevating Pixel Face Unlock to Rival Apple's Face ID
Mobile - Feb 17, 2026
Anticipating the Samsung Galaxy S26 and S26+: Key Rumors and Specs
Mobile - Feb 16, 2026
Xiaomi Launches Affordable Tracker to Compete with Apple's AirTag
Mobile - Feb 14, 2026
Android 17 Beta 1 Now Available for Pixel Devices
Mobile - Feb 12, 2026
What is the Most Powerful Gaming Phone Currently?
Mobile - Feb 11, 2026
Top 5 Cheap and Efficient Gaming Phones in 2026
Mobile - Jan 31, 2026
Generalist vs Specialist: Why the Redmi Note Series Remains Xiaomi's Easiest...
Mobile - Jan 30, 2026
Motorola Unveils Moto G67 and Moto G77: 5200mAh Battery, 6.78-Inch AMOLED Display,...
Mobile - Jan 30, 2026
Red Magic 11 Air Debuts Worldwide: Snapdragon 8 Elite Powerhouse with Advanced ICE...
Mobile - Jan 29, 2026
Guide to Sharing Your Contact Card via the mAadhaar App
Read more
Mobile- Feb 16, 2026
Xiaomi Launches Affordable Tracker to Compete with Apple's AirTag
For users tired of ecosystem lock-in or high prices, the Xiaomi Tag represents a compelling, no-frills option that delivers core functionality at a fraction of the cost.
ICT News- Feb 18, 2026
Google's Project Toscana: Elevating Pixel Face Unlock to Rival Apple's Face ID
As the smartphone landscape evolves, Google's push toward superior face unlock technology underscores its ambition to close the gap with Apple in user security and convenience.
Mobile- Feb 17, 2026
Anticipating the Samsung Galaxy S26 and S26+: Key Rumors and Specs
The Samsung Galaxy S26 series is on the horizon, sparking excitement among tech enthusiasts.
Comments
Sort by Newest | Popular