New Display Technology Patent Called 'Z-Fold' Filed By Google
Anita - Mar 18, 2019
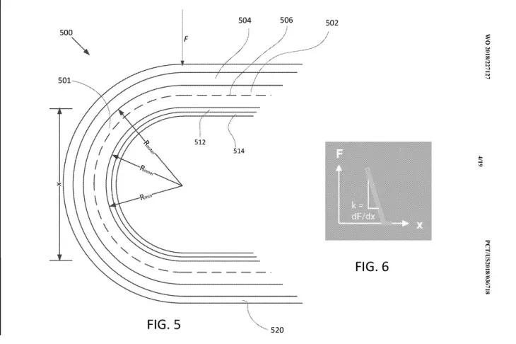
A new patent has been filed by Google for "Z-fold" display technology which describes about a panel which can be bent in two different places without breaking.
- Google Offers Voluntary Buyouts to US Employees Amid AI Push
- Google SynthID: Everything You Need to Know About AI Content Detection
- NotebookLM Mobile App: Enterprise AI Capabilities Now Available on iOS and Android
The current phone market is witnessing the appearance of several foldable phones. A recent patent filed by Google suggests that the tech giant is also experimenting with foldable display technology, which is called “Z-fold” and identical to the displays used on the Samsung Galaxy Fold and the Huawei Mate X. Patently Mobile spotted the filing which describes about a panel which can be bent in two different places without breaking.

It is worth mentioning that the recent patent doesn’t refer to “phone” word once, it only mentions how the panel will be used in “modern computing devices”, which probably refers to laptops and tablets, according to a report on The Verge on Thursday.

Additionally, Google’s interest in foldable handsets has focused on the software segment of their design, as Google doesn’t manufacture any its own smartphones or displays.
Therefore, when licensing the foldable panel, the company is likely to hand over the manufacturing work to a third party for the foldable panels rather than making them for itself.

According to the report, Google previously had Google Pixel 3 manufactured by Foxconn. Besides, its Pixel 2 smartphones were also produced by both LG and HTC.
Additionally, the world's biggest search engine also equipped the Android OS with foldable display support in November this year.

In addition, the tech giant also closely cooperated with Huawei and Samsung to make sure that its operating system could operate well on the first foldable devices.
For further information, Google has recently launched its Android Q Beta 1 update which will be equipped with support for foldable smartphones. It is known that the search engine giant has been working on making a new Android experience for the newly-launched Samsung Galaxy Fold flagship. This could mean that Google pays its attention on foldable devices.

Featured Stories
Mobile - Oct 23, 2025
How Casual Games Are Winning the Mobile Attention War
Mobile - Jul 03, 2025
OPPO Reno 14 Series Hits India: Launch Date, Cameras, and Specs
Mobile - Jun 12, 2025
Best Gaming Phones 2025: Top Devices for Mobile Gaming
Mobile - Jun 12, 2025
Vivo T4 Ultra Debuts with MediaTek Dimensity 9300+ Chipset
Mobile - Jun 08, 2025
Realme GT 7T Review: Power Meets Endurance in Controversial Style
Mobile - Jun 08, 2025
Motorola Edge 60 Set to Debut in India This June
Mobile - Jun 07, 2025
Realme C73 5G Launches in India: Budget 5G Phone Starts at ₹10,499
Gadgets - Jun 07, 2025
OnePlus 13s Makes Indian Debut: Compact Flagship Brings Premium Features at...
Mobile - Jun 04, 2025
Samsung Galaxy Z Fold 7 Ultra: The Next Chapter of Premium Foldables
Mobile - Jun 02, 2025
Comments
Sort by Newest | Popular