Apple's New Patent Suggests More On Its Foldable Phone
Dhir Acharya - Feb 16, 2019
The original patent was filed in 2011, updated in 2016, and now Apple has filed another update for its patent on foldable devices.
- Best Gaming Phones 2025: Top Devices for Mobile Gaming
- Apple Kills Original HomePod, Focusing On HomePod Mini
- iPhone 12 Color Is Fading Away Quickly And No One Knows Why
Day by day, we get to see new rumors about another company developing a foldable phone. Starting with Samsung, now, leaks suggest that Huawei, Xiaomi, LG, Motorola, Lenovo are all working on their own foldable or bendable phones. And it’s Apple’s turn.

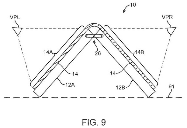
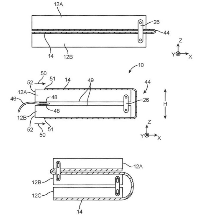
On Thursday, Apple’s updated patent shows drawings of a foldable clamshell phone. This update follows a patent filed in 2011, which was first updated in 2016 illustrating a flexible display.

What’s special about this update from Apple is the time it comes out, right ahead of Samsung’s scheduled date for showing off its alleged Galaxy X, the foldable smartphone, along with the Samsung Galaxy S10.
As in the patent, we can see a phone capable of folding in half. We have seen the same approach in Motorola’s patent for the updated version of the RAZR so that the phone can fit in users’ pockets. On the other hand, the way Samsung and Xiaomi design their foldable handsets focus more on transforming a phone into a small tablet.

In its patent, the iPhone maker illustrates a handful of ways to incorporate hinges and house around an OLE display which is bendable. The patent also includes drawings of a clamshell design as well as another illustration of trifold design. Accordingly, Apple has designed a flexible screen that is able to fold inward and outward, possibly used for iPad or MacBook.

Apple hasn’t responded to a comment request.
Before any official statements or new leaks about Apple’s foldable devices come out, we are still waiting to see more details about its 2019 iPhones, also called iPhone 11. Up to now, we have learned a few things about the series, including a triple camera setup on the rear and the series is likely to mix OLED and LCD screens like the iPhone X series. Plus, early rumors said the iPhone 11 will house USB-C port instead of Lightning port, but a recent leak has suggested the opposite.
Anyway, foldable or normal iPhones, there’s more ahead to look forward to.
Featured Stories
ICT News - Dec 25, 2025
The Visibility Concentration Effect: Why Half the Web Isn’t Qualified Anymore
ICT News - Jul 05, 2025
Windows 11 is Now the Most Popular Desktop OS in the World
ICT News - Jul 02, 2025
All About Florida’s Alligator Alcatraz: A Smart Move for Immigration Control
ICT News - Jun 25, 2025
AI Intimidation Tactics: CEOs Turn Flawed Technology Into Employee Fear Machine
ICT News - Jun 24, 2025
Tesla Robotaxi Finally Hits the Streets: $4.20 Rides That'll Make You Hold Your...
ICT News - Jun 24, 2025
World's First Flying Humanoid Robot Takes Flight
ICT News - Jun 24, 2025
When Closed Source Met Open Source: Bill Gates Finally Meets Linus Torvalds After...
Gadgets - Jun 23, 2025
COLORFUL SMART 900 AI Mini PC: Compact Power for Content Creation
ICT News - Jun 22, 2025
Neuralink Telepathy Chip Enables Quadriplegic Rob Greiner to Control Games with...
ICT News - Jun 20, 2025
Tesla vs Zoox vs Waymo: Who would win?
Read more
Mobile- Jan 31, 2026
Generalist vs Specialist: Why the Redmi Note Series Remains Xiaomi's Easiest Recommendation
Redmi Note 15 series – balanced design and modern features.
Features- Jan 29, 2026
Permanently Deleting Your Instagram Account: A Complete Step-by-Step Tutorial
By following this guide, you can confidently delete your Instagram account and move forward.
Mobile- Jan 30, 2026
Motorola Unveils Moto G67 and Moto G77: 5200mAh Battery, 6.78-Inch AMOLED Display, Prices, and Specifications
With their combination of modern features and competitive pricing, the Moto G67 and G77 position Motorola strongly in the mid-range segment for 2026.
Mobile- Jan 30, 2026
Red Magic 11 Air Debuts Worldwide: Snapdragon 8 Elite Powerhouse with Advanced ICE Cooling
Nubia's gaming-focused sub-brand, Red Magic, has unveiled its latest smartphone, the Red Magic 11 Air, for global markets.
Mobile- Jan 29, 2026
Guide to Sharing Your Contact Card via the mAadhaar App
The mAadhaar app, developed by the Unique Identification Authority of India (UIDAI), allows users to manage their Aadhaar details digitally.
Comments
Sort by Newest | Popular