Renewed Patents Suggest Apple AR Glasses May Start To Take Shape
Saanvi Araav - Mar 21, 2019
We have got more information on the new project of Apple - the Apple AR glasses from their renewed patents.
- Best Gaming Phones 2025: Top Devices for Mobile Gaming
- Apple Kills Original HomePod, Focusing On HomePod Mini
- iPhone 12 Color Is Fading Away Quickly And No One Knows Why
We got some new information from Ming-Chi Kuo - the famous Apple soothsayer. Recently he has stated that the next groundbreaking user interface of Apple will be in the shape of glasses of augmented reality. From the Cupertino-based company, they expect to launch these glasses by 2020. They have also renewed a patent and took a look at this patent will help us imagine the shape of these new AR glasses.
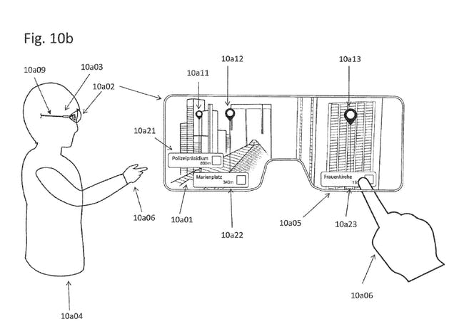
This patent has been published by the US Office of Patent and Trademark, and with this patent, we have more concrete evidence that Apple is working toward an AR release from the claim back in July of 2017. This patent proposes a system of digital makers on improving the FOW ( Field of View) and allows the user to interact with the glasses with gesture controls.

What will it be used for?
Still, we could see a lot of possibilities from this patent. Maybe it could serve as a tour guide guiding you on your overseas trip, I could imagine that the system utilizes its new technologies to annotate and highlight the points of interest in your tour. We could also use this system to track our lost devices. In the majority of the blueprints in the patent, the AR glasses work in connection with an iPhone, but in the last two blueprints show another AR glasses which are fully independent without connecting to any second device.

We know that the system will be much easier to make if it is linked to a smartphone. If they want to put onboard hardware on the glasses the pair will turn out much bigger and bulkier - as big as the prototype version of HoloLens 2. But still, that option remains on the table.
New depth sensor

There are also rumors about a new depth sensor for future iPhones with lidar technology which currently exist in autonomous cars. This technology will use a laser to measure the distance from the sensor to the object base on the speed of the bounced back laser. This could improve greatly how iPhones deal with its AR feature.
At last, Apple is on the track of recruiting many AR developers for ARKit platform, which was released in Worldwide Developer Conference 2018. This is a very important step of Apple toward creating a marketplace for AR Apps. In that event, Apple also introduced the ARKit version 2 which is integrated into the iOS toolkit of the developer.
Featured Stories
Gadgets - Jul 21, 2025
COLORFUL Launches iGame Shadow II DDR5 Memory for AMD Ryzen 9000 Series
Gadgets - Jun 23, 2025
COLORFUL SMART 900 AI Mini PC: Compact Power for Content Creation
Review - Jun 18, 2025
Nintendo Switch 2 Review: A Triumphant Evolution Worth the Wait
Gadgets - Jun 18, 2025
Starlink: Why It’s a Big Deal for U.S. Internet in 2025
Gadgets - Jun 17, 2025
How Custom PC Setups Support India's Esports Athletes in Global Competition
Gadgets - Jun 12, 2025
Lava Prowatch Xtreme Launches with Google Fit Integration
Gadgets - Jun 07, 2025
Fujifilm Instax Mini 41 Launches in India: Stylish Instant Camera Now Available...
Mobile - Jun 07, 2025
Realme C73 5G Launches in India: Budget 5G Phone Starts at ₹10,499
Gadgets - Jun 07, 2025
OnePlus 13s Makes Indian Debut: Compact Flagship Brings Premium Features at...
Gadgets - Jun 07, 2025
OnePlus Pad 3 Debuts with Snapdragon 8 Elite Chip, India Launch Confirmed
Read more
Review- Feb 01, 2026
The Raja Saab Set to Stream Online: Where to Watch Prabhas' Horror Comedy
Whether you're a Prabhas enthusiast or a fan of genre-bending films, The Raja Saab offers a chance to see the star in a new light.
ICT News- Feb 03, 2026
Elon Musk's SpaceX Acquires xAI in Landmark $1.25 Trillion Merger
This merger not only consolidates Musk's empire but also paves the way for groundbreaking integrations of AI and space technology.
ICT News- Feb 02, 2026
Google's Project Genie: Premium Subscribers Unlock Interactive AI-Generated Realms
Google's Project Genie opens a portal to endless creativity, inviting premium users to shape their own digital universes.
Mobile- Jan 31, 2026
Generalist vs Specialist: Why the Redmi Note Series Remains Xiaomi's Easiest Recommendation
Redmi Note 15 series – balanced design and modern features.
Comments
Sort by Newest | Popular