Apple Is Working On An AR Headset That Works With The iPhone
Dhir Acharya - Mar 01, 2019
A patent filed in August 2018 by Apple describes in details the use of an AR environment on the iPhone and may also involve a headset.
- Best Gaming Phones 2025: Top Devices for Mobile Gaming
- Apple Kills Original HomePod, Focusing On HomePod Mini
- iPhone 12 Color Is Fading Away Quickly And No One Knows Why
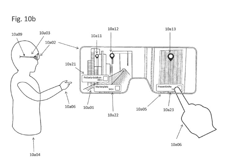
Apple is growing its interest in augmented reality. The reason we say this is due to a patent the iPhone maker filed in August 2018, including 292 pages describing in details the use of an AR environment on the iPhone and may also involve an AR headset.
What’s worth noting here, perhaps also the best part of the patent, lies in the part published on Thursday numbered US 2019/0065027. It looks like Apple is working on different approaches to using an AR headset along with an iPhone. According to the company’s description, people use a headset to view an AR environment where computer images are laid on top of the real world. Next, users interact with that augmented reality environment via a touch-sensitive surface.

Apple's patent
The patent, which was first spotted by Patently Apple, is a solid proof of Apple’s plan to build an augmented reality headset, which internal sources said the company expects to launch the next year.
Apple didn’t respond to a comment request immediately.

Apple's patent
Meanwhile, Microsoft announced it HoloLens2 headset last Sunday, which is priced at $3,500. It hopes many businesses will use this device to help their employees who regularly work with X-rays, schematics, or other data that a normal screen, keyboard, and mouse are not as efficient.

Microsoft's HoloLens 2
In an interview, Alex Kipman, HoloLens leader at Microsoft Redmond, said that the goal of creating these devices is to transform humans.

Another device of this kind is Magic Leap headset, released last August at $2,295, whose consumer version will soon launch. While HoloLens helps users interact with its AR world by tracking their eyes, voice, and hands, Magic Leap’s AR environment is created by Lightwear headset which is connected to a wearable computer using wires. Users can interact with Magic Leap with Control the handheld remote.

Magic Leap
Apple may be going the same way with Magic Leap as the patent shows a headset wirelessly connected to a separate computer and an iPhone. According to Cnet, Apple’s prototypes involved a cordless device in a wireless connection with another device running on Apple’s customized chips.
Featured Stories
Features - Jan 29, 2026
Permanently Deleting Your Instagram Account: A Complete Step-by-Step Tutorial
Features - Jul 01, 2025
What Are The Fastest Passenger Vehicles Ever Created?
Features - Jun 25, 2025
Japan Hydrogen Breakthrough: Scientists Crack the Clean Energy Code with...
ICT News - Jun 25, 2025
AI Intimidation Tactics: CEOs Turn Flawed Technology Into Employee Fear Machine
Review - Jun 25, 2025
Windows 11 Problems: Is Microsoft's "Best" OS Actually Getting Worse?
Features - Jun 22, 2025
Telegram Founder Pavel Durov Plans to Split $14 Billion Fortune Among 106 Children
ICT News - Jun 22, 2025
Neuralink Telepathy Chip Enables Quadriplegic Rob Greiner to Control Games with...
Features - Jun 21, 2025
This Over $100 Bottle Has Nothing But Fresh Air Inside
Features - Jun 18, 2025
Best Mobile VPN Apps for Gaming 2025: Complete Guide
Features - Jun 18, 2025
A Math Formula Tells Us How Long Everything Will Live
Read more
ICT News- Feb 03, 2026
Elon Musk's SpaceX Acquires xAI in Landmark $1.25 Trillion Merger
This merger not only consolidates Musk's empire but also paves the way for groundbreaking integrations of AI and space technology.
Review- Feb 01, 2026
The Raja Saab Set to Stream Online: Where to Watch Prabhas' Horror Comedy
Whether you're a Prabhas enthusiast or a fan of genre-bending films, The Raja Saab offers a chance to see the star in a new light.
ICT News- Feb 02, 2026
Google's Project Genie: Premium Subscribers Unlock Interactive AI-Generated Realms
Google's Project Genie opens a portal to endless creativity, inviting premium users to shape their own digital universes.
Mobile- Jan 31, 2026
Generalist vs Specialist: Why the Redmi Note Series Remains Xiaomi's Easiest Recommendation
Redmi Note 15 series – balanced design and modern features.
Comments
Sort by Newest | Popular