Microsoft Surface Pro May Be Equipped With Solar Panels In The Future
Anil - Jan 31, 2020
As expected, this change will prolong the battery life of Microsoft Surface Pro devices.
- The Ultimate Tech Betrayal: OpenAI's Nuclear Revenge Plot Against Sugar Daddy Microsoft
- Microsoft Notepad Gets Major Update: Bold Text, Hyperlinks, and Markdown Support
- Microsoft Surface: A Shift from Innovation to Stability?
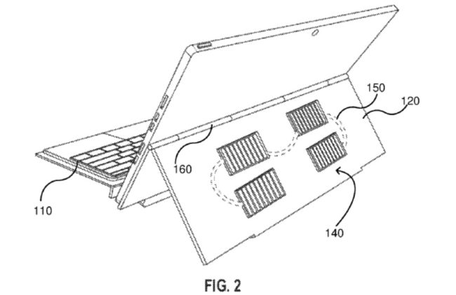
Microsoft has successfully pursued a patent filing for a solar panel integrated on the cover of its Surface Pro lineup, meaning that these devices' covers will soon consist of solar panels. The tech giant has been known for its capability of making a huge revenue by selling interchangeable covers, or other Surface peripherals, besides the verified and environmentally-friendly quality of the devices with solar-powered features.

Microsoft business includes the selling of supplemental combination cover, as well as keyboard for Surface tablets right from the beginning, with a starting price of $130. There are other accessories that Surface users can choose from, such as a stylus ($150), a wired mouse ($80), wireless headphones ($250). Those designed accessories might fit well with Microsoft’s premium solar-powered keyboard cover in the near future. Having applied for the patent 2 years ago, but until now it has just become public.

For solar-powered devices, the most efficient method to charge them is through the direct and full sunlight. This is not a frequent environment for those who use computers or tablets. This means users will have to leave their solar-powered devices in outdoor conditions, which is not really comfortable. However, the panels can charge themselves (but not as efficient as the regular charging way) with indirect light sources such as LED bulbs or incandescent.

Industry professionals once doubted the efficiency of the solar-type covers, and whether they can prolong the battery life of Microsoft Surface devices, but they turned out to be much more efficient than ever before. However, Surface devices that are considered to be a potential rival of iPad use lightweight and elegant-style design, do not seem to fit well with clunky solar-powered equipment. It may take Microsoft years to apply for the patent on a real project.
Featured Stories
Gadgets - Jul 21, 2025
COLORFUL Launches iGame Shadow II DDR5 Memory for AMD Ryzen 9000 Series
Gadgets - Jun 23, 2025
COLORFUL SMART 900 AI Mini PC: Compact Power for Content Creation
Review - Jun 18, 2025
Nintendo Switch 2 Review: A Triumphant Evolution Worth the Wait
Gadgets - Jun 18, 2025
Starlink: Why It’s a Big Deal for U.S. Internet in 2025
Gadgets - Jun 17, 2025
How Custom PC Setups Support India's Esports Athletes in Global Competition
Gadgets - Jun 12, 2025
Lava Prowatch Xtreme Launches with Google Fit Integration
Gadgets - Jun 07, 2025
Fujifilm Instax Mini 41 Launches in India: Stylish Instant Camera Now Available...
Mobile - Jun 07, 2025
Realme C73 5G Launches in India: Budget 5G Phone Starts at ₹10,499
Gadgets - Jun 07, 2025
OnePlus 13s Makes Indian Debut: Compact Flagship Brings Premium Features at...
Gadgets - Jun 07, 2025
OnePlus Pad 3 Debuts with Snapdragon 8 Elite Chip, India Launch Confirmed
Read more
Mobile- Jan 30, 2026
Motorola Unveils Moto G67 and Moto G77: 5200mAh Battery, 6.78-Inch AMOLED Display, Prices, and Specifications
With their combination of modern features and competitive pricing, the Moto G67 and G77 position Motorola strongly in the mid-range segment for 2026.
Mobile- Jan 30, 2026
Red Magic 11 Air Debuts Worldwide: Snapdragon 8 Elite Powerhouse with Advanced ICE Cooling
Nubia's gaming-focused sub-brand, Red Magic, has unveiled its latest smartphone, the Red Magic 11 Air, for global markets.
Review- Feb 01, 2026
The Raja Saab Set to Stream Online: Where to Watch Prabhas' Horror Comedy
Whether you're a Prabhas enthusiast or a fan of genre-bending films, The Raja Saab offers a chance to see the star in a new light.
Mobile- Jan 31, 2026
Generalist vs Specialist: Why the Redmi Note Series Remains Xiaomi's Easiest Recommendation
Redmi Note 15 series – balanced design and modern features.
Comments
Sort by Newest | Popular